波生坦在国内上市初期,价格极为高昂,每盒高达2.7万元,2010年下降为19980元/盒,2015年专利到期后价格再次下调,2016年起每盒为3998元(规格为125mg56片/盒)。该药市场一直被原研企业垄断,此次,华润双鹤申报的波生坦分散片获批上市,为国内首仿,打破了原研垄断的局面。
截至目前,在国内波生坦分散片的产品布局领域,仅有江苏天士力帝益药业提交了4类新注册仿制申请,该申请目前正处于审评审批阶段。

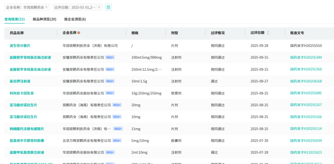
截图来源:摩熵医药中国药品审评数据库
2025年以来,华润双鹤药业(含子公司)药品研发成果显著,共有20款品种成功获批并通过一致性评价。从剂型分布看,注射剂占据主导地位,占比达55%;片剂次之,占比25%。值得一提的是,波生坦分散片成为公司本年度首个斩获的首仿药物。

截图来源:摩熵医药过评药品汇总数据库
在研发管线推进方面,阿奇霉素分散片、氨氯地平贝那普利胶囊、非诺贝特酸胆碱缓释胶囊、富马酸伏诺拉生片、枸橼酸托法替布缓释片及氢溴酸伏硫西汀片等6个品种均已完成生物等效性(BE)试验,后续申报进度值得期待。
参考来源:
[1] NMPA官网
[2] 摩熵医药(原药融云)数据库
想要解锁更多药物研发信息吗?查询摩熵医药(原药融云)数据库(vip.pharnexcloud.com/?zmt-mhwz)掌握药企公司基本信息、投融资情况、产品管线分布、药物销售情况与各维度分析、药物研发情况、年度报告、最新进展动态、临床试验信息、市场规模与前景等,以及帮助企业抉择可否投入时提供数据参考!注册立享15天免费试用!

收藏
登录后参与评论
暂无评论