洞察市场格局
解锁药品研发情报

客服电话

400-9696-311
医药数据查询

抗感染药来特莫韦仿制上市申请激增,正大天晴抢先获批,国内市场竞争再加剧!

海南合瑞制药 华北制药 来特莫韦片 抗感染药 儿童新剂型
摩熵医药
08/20
693

8月19日,CDE官网显示,海南合瑞制药华北制药递交了4类仿制化药来特莫韦片的上市申请,均获受理。据摩熵医药数据库信息,来特莫韦2024年全球销售额约8亿美元,该剂型国产第三家的席位正在激烈争夺中。

截图来源:CDE官网

来特莫韦(Letermovir)是一种新型非核苷巨细胞病毒抑制剂,主要用于接受异基因造血干细胞移植(HSCT)的巨细胞病毒(CMV)血清学阳性的成人受者[R+]预防巨细胞病毒感染和巨细胞病毒病。

截图来源:摩熵医药全球药物研发数据库

该药物的原研权益由默沙东通过旗下子公司从AiCuris公司收购获得。来特莫韦片剂和注射剂最早于2017年获美国FDA批准上市,2022年先后获批进入国内市场,商品名为Prevymis(普瑞明)

近年来,来特莫韦的全球销售额保持快速增长态势,2023年突破6亿美元,2024年同比递增29.75%,达7.85亿美元。

截图来源:摩熵医药全球药物研发数据库

在全国院内市场,来特莫韦片表现同样抢眼,2022年院内销售额为500多万元,2023年跃升至1.74亿,同比增幅高达3371.86%;2024年销售额近乎翻倍,达3.03亿,同比增长74.16%。

来特莫韦片销售数据
【来特莫韦片】全国医院(全终端)销售额-年度趋势
销售额(亿元)
增长率(%)
【来特莫韦片】全国医院(全终端)销售额-企业分析TOP10
MAH/生产企业
销售额(亿元)
【来特莫韦片】全国药店零售额-年度趋势
销售额(亿元)
增长率(%)
可直接点击跳转到数据库免费查看最新数据详细信息

巨细胞病毒(CMV)又被称为人类巨细胞病毒,是最大的人类疱疹病毒。其以隐性感染为主,能引发较高的死亡率及严重疾病。我国巨细胞病毒感分布广泛,普通人群CMV抗体阳性率为86%-96%,孕妇约为95%,婴幼儿期为60%-80%。原发感染多发生于婴幼儿时期,一旦感染,将持续终身。

2023年,来特莫韦片/注射液通过国谈被纳入国家医保乙类药物目录。目前来特莫韦片单盒销售价格(规格:240mg*28片/盒)仍超过4000元,市场潜力十分可观。

截图来源:摩熵医药医保目录数据库

从仿制竞争格局来看,2024年4月,正大天晴来特莫韦片历时近一年半获NMPA批准上市,拿下国内首仿;重庆希韦医药则斩获国产第二家。同年,正大天晴再下一城,将来特莫韦注射液的首仿资格收入囊中。

截图来源:摩熵医药药品批文数据库

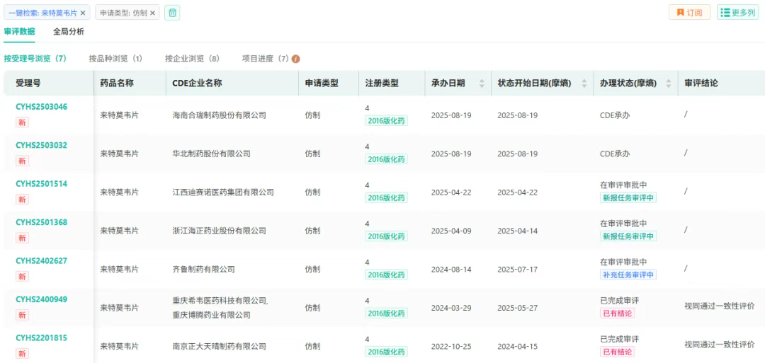
目前,除前文提及的海南合瑞制药华北制药外齐鲁制药、浙江正海医药、江西迪赛诺医药这3家企业也在进行来特莫韦片的上市申请。

截图来源:摩熵医药中国药品审评数据库

此外,原研企业默沙东(MSD)于今年3月向CDE提交了来特莫韦微片这一新剂型的进口上市申请,该申请已被纳入优先审评程序,预计今年年末有望获批。据CDE公示信息,来特莫韦微片属于儿童专用新品种,这一剂型的补充将为患者提供更多用药选择。

截图来源:CDE官网

来特莫韦的化合物专利在中国的保护期已于2024年4月届满,随着多家企业的积极布局,其市场即将迎来更为激烈的竞争。

截图来源:摩熵医药全球上市药品专利数据库

而仿制药竞争的加剧与新剂型的推出,将推动来特莫韦进一步普及,为我国巨细胞病毒感染患者提供更易获取、更经济的治疗选择,从而更好的满足临床需求。

想要解锁更多药物研发信息吗?查询摩熵医药(原药融云)数据库(vip.pharnexcloud.com/?zmt-mhwz)掌握药物基本信息、市场竞争格局、销售情况与各维度分析、药企研发进展、临床试验情况、申报审批情况、各国上市情况、最新市场动态、市场规模与前景等,以及帮助企业抉择可否投入时提供数据参考!注册立享15天免费试用!

海南合瑞制药*点击下方数字查看更多企业相关数据
  • 全球药物研发信息
    -
  • 中国药品审评信息
  • 中国药品批文
  • 药品招投标
  • 全球临床试验
    -
  • 中国临床试验
  • 一致性评价
  • 美国FDA批准药品
    -
  • 医药投融资
    -
  • 药物集中采购
    -
  • 境内外生产药品备案信息
    -
华北制药*点击下方数字查看更多企业相关数据
  • 全球药物研发信息
  • 中国药品审评信息
  • 中国药品批文
  • 药品招投标
  • 全球临床试验
    -
  • 中国临床试验
  • 一致性评价
  • 美国FDA批准药品
    -
  • 医药投融资
    -
  • 药物集中采购
    -
  • 境内外生产药品备案信息
    -
来特莫韦片*点击下方数字查看更多药品相关数据
  • 全球药物研发信息
    -
  • 中国药品审评信息
  • 中国药品批文
  • 药品招投标
  • 全球临床试验
    -
  • 中国临床试验
  • 一致性评价
  • 美国FDA批准药品
    -
<END>
*声明:本文由入驻摩熵医药的相关人员撰写或转载,观点仅代表作者本人,不代表摩熵医药的立场。
AI+生命科学全产业链智能数据平台

收藏

发表评论
评论区(0
  • 暂无评论

    摩熵医药企业版
    50亿+条医药数据随时查
    7天免费试用
    摩熵数科开放平台
    十五五战略规划
    专利数据服务

    中国药品审评

    美国FDA批准药品

    添加收藏
      新建收藏夹
      取消
      确认