洞察市场格局
解锁药品研发情报

客服电话

400-9696-311
医药数据查询

普正制药全杜仲胶囊、健民药业七蕊胃舒胶囊获中药二级保护,独家品种销售额暴增!

普正制药 全杜仲胶囊 健民药业 七蕊胃舒胶囊 中药二级保护
摩熵医药
昨天 11:13
489

9月28日,国家药监局发布最新中药保护品种公告,为中药市场投下一颗“重磅炸弹”——江西普正制药全杜仲胶囊健民药业七蕊胃舒胶囊,双双获批为首家中药二级保护品种。这意味着这两款独家中成药,将在保护期内享受市场独占权,其他企业不得仿制,市场前景一片光明。

截图来源:NMPA

一、大涨113%的中药大品种,普正制药持续领跑行业

全杜仲胶囊是我国首个获国家中药品种保护的杜仲药品,也是普正制药红花逍遥片后第二个获此类保护的产品。普正制药作为杜仲全产业链研发链主企业,其全剂型独家品种全杜仲胶囊以杜仲单方入药,有补肝肾、强筋骨、降血压等功效,对肾虚腰痛、骨质疏松及“三高”靶器官损伤防治效果显著。全杜仲胶囊自2005年上市,质量稳定、疗效确切,深受医患欢迎。据摩熵医药数据库显示,2024年全杜仲胶囊在全终端医院市场销售额超8900万元,同比增长达113.33%,属中药大品种。

全杜仲胶囊销售数据
【全杜仲胶囊】全国医院(全终端)销售额-年度趋势
销售额(亿元)
增长率(%)
【全杜仲胶囊】全国医院(全终端)销售额-企业分析TOP10
MAH/生产企业
销售额(亿元)
【全杜仲胶囊】全国药店零售额-年度趋势
销售额(亿元)
增长率(%)
可直接点击跳转到数据库免费查看最新数据详细信息

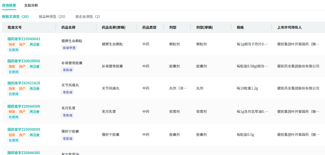
此次,普正制药全杜仲胶囊获批首家中药二级保护肯定了其临床价值,将推动企业投入杜仲高值化开发,巩固其杜仲植物药领域领先地位。目前,仅有成都森科制药于2005年获得全杜仲胶囊的仿制申请批准。截至目前,普正制药(含子公司)已有12款独家中成药成功获批上市。

截图来源:摩熵医药中国药品批文数据库

二、大涨1070%的独家中成药,堪称中药市场的“黑马”。

七蕊胃舒胶囊是由健民药业自主研发、于2021年12月31日获批生产的1.1类创新药,国谈药品,其功能主治为活血化瘀,燥湿止痛,用于轻中度慢性非萎缩性胃炎伴糜烂湿热瘀阻证所致的胃脘疼痛。目前已纳入全国医保乙类药目录。2024年七蕊胃舒胶囊在全终端医院市场销售额超8700万元,同比增达1070.89%,堪称中药市场的“黑马”。

七蕊胃舒胶囊销售数据
【七蕊胃舒胶囊】全国医院(全终端)销售额-年度趋势
销售额(亿元)
增长率(%)
【七蕊胃舒胶囊】全国医院(全终端)销售额-企业分析TOP10
MAH/生产企业
销售额(亿元)
【七蕊胃舒胶囊】全国药店零售额-年度趋势
销售额(亿元)
增长率(%)
可直接点击跳转到数据库免费查看最新数据详细信息

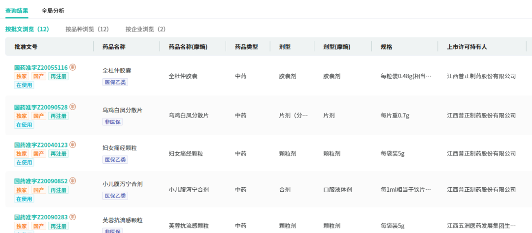
健民药业底蕴深厚,传承“叶开泰”近400年历史文化,拥有“健民”“龙牡”“叶开泰”三大知名品牌。目前公司已有超230款中成药获批上市,其中不乏小儿牛黄退热贴膏、小儿紫贝宣肺糖浆、七蕊胃舒胶囊3款中药1.1类创新药,以及龙牡壮骨颗粒、健民咽喉片、健脾生血颗粒等25款独家品种,研发实力和市场布局可见一斑。

 截图来源:摩熵医药中国药品批文数据库

结语

两款独家中成药同日获批二级保护,不仅为企业带来了市场独占的优势,也为中药行业的发展注入了新的活力。随着市场对中药认可度的不断提高,相信这两款明星药以及背后的企业,将在中药领域创造更多的辉煌。让我们拭目以待!

参考来源:

[1] NMPA官网

[2] 摩熵医药(原药融云)数据库

想要解锁更多药物研发信息吗?查询摩熵医药(原药融云)数据库(vip.pharnexcloud.com/?zmt-mhwz)掌握药企公司基本信息、投融资情况、产品管线分布、药物销售情况与各维度分析、药物研发情况、年度报告、最新进展动态、临床试验信息、市场规模与前景等,以及帮助企业抉择可否投入时提供数据参考!注册立享15天免费试用!

普正制药*点击下方数字查看更多企业相关数据
  • 全球药物研发信息
  • 中国药品审评信息
  • 中国药品批文
  • 药品招投标
  • 全球临床试验
    -
  • 中国临床试验
  • 一致性评价
    -
  • 美国FDA批准药品
    -
  • 医药投融资
    -
  • 药物集中采购
    -
  • 境内外生产药品备案信息
    -
全杜仲胶囊*点击下方数字查看更多药品相关数据
  • 全球药物研发信息
    -
  • 中国药品审评信息
  • 中国药品批文
  • 药品招投标
  • 全球临床试验
    -
  • 中国临床试验
  • 一致性评价
    -
  • 美国FDA批准药品
    -
健民药业*点击下方数字查看更多企业相关数据
  • 全球药物研发信息
  • 中国药品审评信息
  • 中国药品批文
  • 药品招投标
  • 全球临床试验
    -
  • 中国临床试验
  • 一致性评价
  • 美国FDA批准药品
    -
  • 医药投融资
    -
  • 药物集中采购
    -
  • 境内外生产药品备案信息
    -
七蕊胃舒胶囊*点击下方数字查看更多药品相关数据
  • 全球药物研发信息
  • 中国药品审评信息
  • 中国药品批文
  • 药品招投标
  • 全球临床试验
    -
  • 中国临床试验
  • 一致性评价
    -
  • 美国FDA批准药品
    -
<END>
*声明:本文由入驻摩熵医药的相关人员撰写或转载,观点仅代表作者本人,不代表摩熵医药的立场。
AI+生命科学全产业链智能数据平台

收藏

发表评论
评论区(0
  • 暂无评论

    摩熵医药企业版
    50亿+条医药数据随时查
    7天免费试用
    摩熵数科开放平台
    十五五战略规划
    专利数据服务

    中国药品审评

    美国FDA批准药品

    添加收藏
      新建收藏夹
      取消
      确认