洞察市场格局
解锁药品研发情报

客服电话

400-9696-311
医药数据查询

合瑞制药加入抗糖药美洛加巴林首仿争夺战,全球销售额超10亿美元

海南合瑞制药 苯磺酸美洛加巴林片 糖尿病 神经病理性疼痛
摩熵医药
07/22
476

7月19日,CDE官网显示,海南合瑞制药股份有限公司申报的4类化学仿制药苯磺酸美洛加巴林片的上市申请已获受理。合瑞制药由此正式加入该品种的首仿争夺战。

截图来源:CDE官网

美洛加巴林(mirogabalin)是第三代钙离子通道调节剂类药物,其适应症为糖尿病性周围神经病理性疼痛(DPNP),主要通过调节钙离子通道,减少钙离子的内流,从而抑制神经元的过度兴奋和神经递质的过度释放。

截图来源:摩熵医药全球药物研发数据库

苯磺酸美洛加巴林片日本第一三共公司(Daiichi Sankyo)自主研发并原研上市,2019年首次在日本获批。

摩熵医药数据库显示,自上市以来,苯磺酸美洛加巴林片在全球的销售额持续飙涨,2019-2023年累计销售达1429亿日元(即时汇率换算约10亿美元),2024年全球销售额近4亿美元,同比增长达21.59%。

截图来源:摩熵医药全球药物研发数据库

2024年6月,苯磺酸美洛加巴林片获批进入中国市场,打破在中国长期以来糖尿病性周围神经病理性疼痛无药可用的治疗困境。同年11月,通过谈判纳入医保目录。

据摩熵医药数据,2021年我国糖尿病患病人数已达1.17亿,且呈逐年增长态势。作为糖尿病最常见的慢性并发症,糖尿病周围神经病(DPN)在我国的发病率约为21.8%,其中57.2%会发展为糖尿病性周围神经病理性疼痛(DPNP)。

截图来源:摩熵医药流行病学数据库

依托我国庞大的糖尿病患病基数与未被满足的治疗需求,苯磺酸美洛加巴林片有望复制同类神经痛药物加巴喷丁的市场表现,成长为亿级规模的重磅品种。

加巴喷丁销售数据
【加巴喷丁】全国医院(全终端)销售额-年度趋势
销售额(亿元)
增长率(%)
【加巴喷丁】全国医院(全终端)销售额-企业分析TOP10
MAH/生产企业
销售额(亿元)
【加巴喷丁】全国药店零售额-年度趋势
销售额(亿元)
增长率(%)
可直接点击跳转到数据库免费查看最新数据详细信息

作为应对治疗领域药物匮乏的突破性产品,苯磺酸美洛加巴林片登陆中国市场一年时间便引来国内企业的热切关注,止痛药细分赛道的仿制浪潮已然出现。

合瑞制药外,南京正大天晴、齐鲁制药、苑东生物3家企业申报的苯磺酸美洛加巴林片上市申请也已获受理,目前均处于审评阶段,首仿之争拉开帷幕。

截图来源:摩熵医药中国药品审评数据库

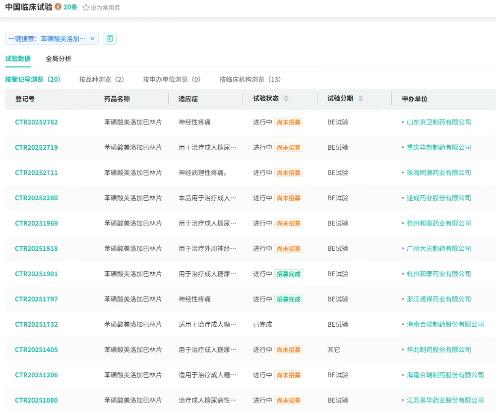
值得关注的是,南京正大天晴作为该产品国内首家申报仿制上市及开展生物等效性试验的药企,2023年9-11月完成试验后即进入上市申报流程,效率显著。目前,已有7家药企完成BE试验,另有13家正处于进行阶段。

截图来源:摩熵医药中国临床试验数据库

苯磺酸美洛加巴林核心化合物专利已在国内授权(CN101878193B),保护期至2028年9月。第一三共还在制剂组合物以及固体制剂专利进行了布局,涉及CN104334169B、CN114786653B、CN107405322B等专利。

截图来源:摩熵医药全球上市药品专利数据库

小结

作为第三代钙离子通道调节剂,苯磺酸美洛加巴林片起效迅速、镇痛持久、耐受性良好的优势,能为DPNP患者带来多重获益。如今首仿之争已正式开启,哪家企业将率先突围、与原研企业第一三共一决高下,我们拭目以待。

想要解锁更多药物研发信息吗?查询摩熵医药(原药融云)数据库(vip.pharnexcloud.com/?zmt-mhwz)掌握药物基本信息、市场竞争格局、销售情况与各维度分析、药企研发进展、临床试验情况、申报审批情况、各国上市情况、最新市场动态、市场规模与前景等,以及帮助企业抉择可否投入时提供数据参考!注册立享15天免费试用!

合瑞制药*点击下方数字查看更多企业相关数据
  • 全球药物研发信息
    -
  • 中国药品审评信息
  • 中国药品批文
  • 药品招投标
  • 全球临床试验
    -
  • 中国临床试验
  • 一致性评价
  • 美国FDA批准药品
    -
  • 医药投融资
    -
  • 药物集中采购
    -
  • 境内外生产药品备案信息
    -
苯磺酸美洛加巴林片*点击下方数字查看更多药品相关数据
  • 全球药物研发信息
    -
  • 中国药品审评信息
  • 中国药品批文
  • 药品招投标
  • 全球临床试验
    -
  • 中国临床试验
  • 一致性评价
    -
  • 美国FDA批准药品
    -
<END>
*声明:本文由入驻摩熵医药的相关人员撰写或转载,观点仅代表作者本人,不代表摩熵医药的立场。
AI+生命科学全产业链智能数据平台

收藏

发表评论
评论区(0
  • 暂无评论

    摩熵医药企业版
    50亿+条医药数据随时查
    7天免费试用
    摩熵数科开放平台
    十五五战略规划
    专利数据服务
    添加收藏
      新建收藏夹
      取消
      确认