洞察市场格局
解锁药品研发情报

客服电话

400-9696-311
医药数据查询

苑东生物磷丙泊酚二钠仿制药申请获受理,挑战人福医药首仿地位

苑东生物 注射用磷丙泊酚二钠 人福药业 水溶性丙泊酚前体麻醉药
摩熵医药
07/11
472

7月9日,CDE官网显示,成都苑东生物制药股份有限公司提交的4类仿制化药注射用磷丙泊酚二钠上市申请已获受理,若顺利获批,有望拿下该品种的首仿资格。

截图来源:CDE官网

注射用磷丙泊酚二钠(Fospropofol)是一种新型短效静脉全身麻醉药,是中国首款新型水溶性丙泊酚前体药物,也是目前国外研究的最先进全身静脉麻醉药之一。该药由四川大学华西医院联合宜昌人福药业自主研发,属国家“重大新药创制”专项成果,是1.1类新药,于2021年获批正式上市。

截图来源:摩熵医药全球药物研发数据库

其用于成人全身麻醉的诱导,对高脂血症患者具有优势。临床研究表明,磷丙泊酚二钠在全身麻醉诱导、重症监护室(ICU)镇静以及舒适化医疗中具有广泛的应用潜力,尤其在老年患者中显示出循环更稳定的优势。

摩熵医药销售数据显示,注射用磷丙泊酚二钠在全国医院销售额约为948万元,该产品2023-2024年的销售额增长率分别达591%和641%,市场潜力在持续释放。

注射用磷丙泊酚二钠销售数据
【注射用磷丙泊酚二钠】全国医院(全终端)销售额-年度趋势
销售额(亿元)
增长率(%)
【注射用磷丙泊酚二钠】全国医院(全终端)销售额-企业分析TOP10
MAH/生产企业
销售额(亿元)
可直接点击跳转到数据库免费查看最新数据详细信息

磷丙泊酚二钠最初由日本卫材研发,商品名为Lusedra®,2008年12月在美国上市,后因销售不佳于2012年撤市。Lusedra化合物专利CN1198834在中国已于2019年到期。人福医药磷丙泊酚二钠有效填补了自主创新麻醉药领域空白。

截图来源:摩熵医药全球药物研发数据库

当前我国院内麻醉药销售总额突破1588亿元,近年呈现起伏上升趋势,2023年同比上涨15.65%,达到217亿元。作为麻醉镇静领域的王牌产品,丙泊酚一直占据着统治地位。丙泊酚乳状注射液丙泊酚中/长链脂肪乳注射液分别是麻醉药的TOP1和TOP5产品。

麻醉药销售数据
【麻醉药】全国医院(全终端)销售额-年度趋势
销售额(亿元)
增长率(%)
【麻醉药】全国医院(全终端)销售额-药品分析TOP10
MAH/生产企业
销售额(亿元)
【麻醉药】全国药店零售额-年度趋势
销售额(亿元)
增长率(%)
可直接点击跳转到数据库免费查看最新数据详细信息

摩熵医药数据库显示,丙泊酚在全国医院(全终端)的累计销售额约为467亿元。而根据市场研究,2022年全球磷丙泊酚二钠市场规模约为6.681亿美元,预计到2029年将达到17.263亿美元,2023-2029年期间年复合增长率(CAGR)为14.5%。预计注射用磷丙泊酚二钠可替代丙泊酚的部分市场,未来市场格局良好。

丙泊酚销售数据
【丙泊酚】全国医院(全终端)销售额-年度趋势
销售额(亿元)
增长率(%)
【丙泊酚】全国医院(全终端)销售额-企业分析TOP10
MAH/生产企业
销售额(亿元)
【丙泊酚】全国药店零售额-年度趋势
销售额(亿元)
增长率(%)
可直接点击跳转到数据库免费查看最新数据详细信息

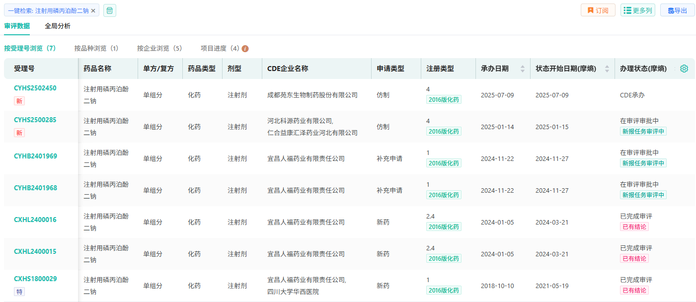
目前,国内仅宜昌人福药业生产注射用磷丙泊酚二钠,为独家产品。除苑东生物外,仁合益康药业也提交了上市申请,在审评审批中。

截图来源:摩熵医药中国药品审评数据库

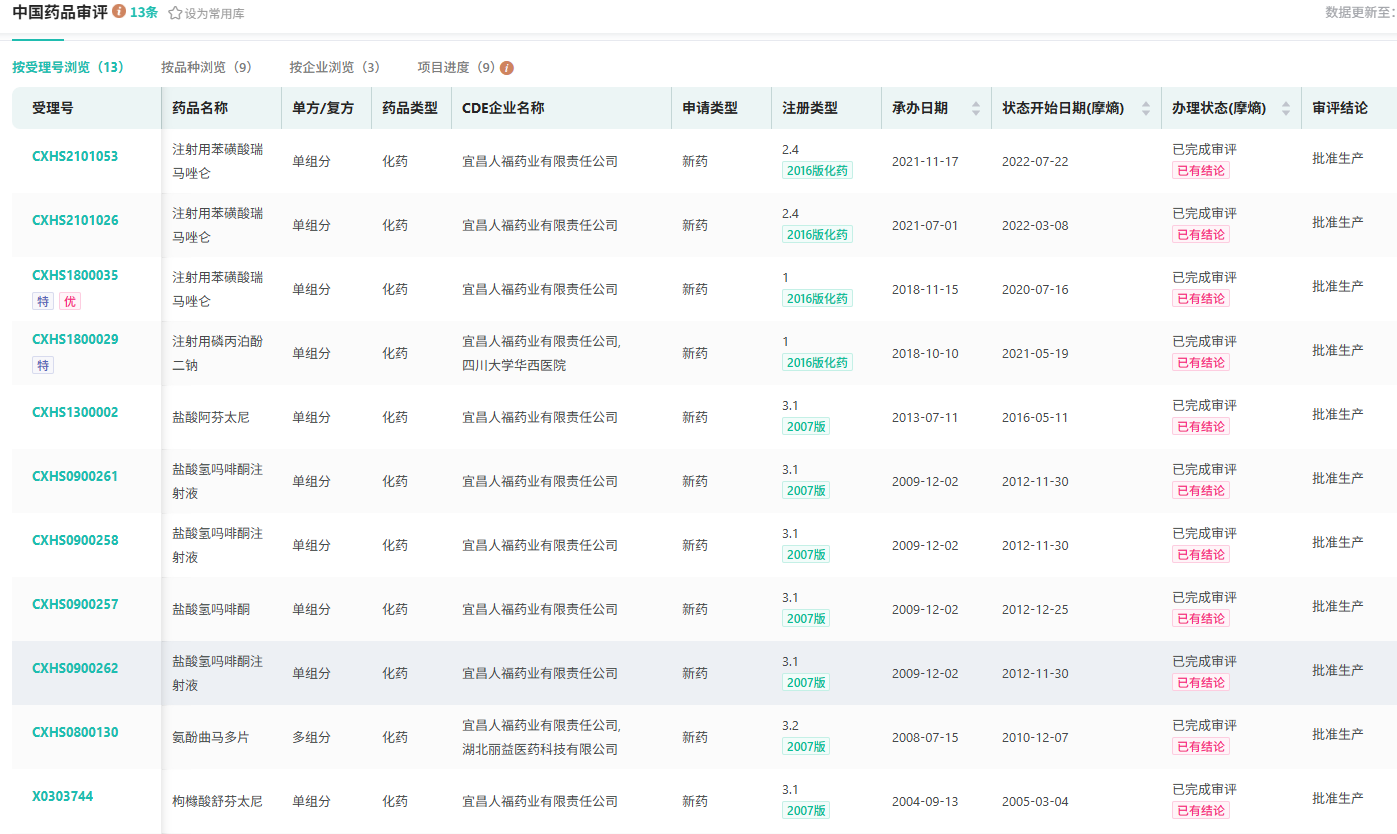
作为国内麻醉镇痛药领域的龙头企业,人福医药已成功上市了改良型新药盐酸瑞芬太尼注射用磷丙泊酚二钠(中国首款丙泊酚前体药物),以及创新药注射用苯磺酸瑞马唑仑(湖北省首个化药1类新药)。这些产品的成功上市,不仅展示了人福医药在麻醉镇痛领域的强大研发实力,也为临床治疗提供了更多选择。

截图来源:摩熵医药中国药品审评数据库

小结

成都苑东生物注射用磷丙泊酚二钠上市申请获 CDE 受理,这一动作意味着其与原研企业宜昌人福药业的市场对战正式拉开序幕。若后续顺利通过审批,不仅将丰富磷丙泊酚二钠的市场供给,提供更多用药选择;也可能重塑该领域的仿制药竞争格局,其在仿制药赛道上的这一布局值得行业持续关注。

想要解锁更多药物研发信息吗?查询摩熵医药(原药融云)数据库(vip.pharnexcloud.com/?zmt-mhwz)掌握药物基本信息、市场竞争格局、销售情况与各维度分析、药企研发进展、临床试验情况、申报审批情况、各国上市情况、最新市场动态、市场规模与前景等,以及帮助企业抉择可否投入时提供数据参考!注册立享15天免费试用!

苑东生物*点击下方数字查看更多企业相关数据
  • 全球药物研发信息
  • 中国药品审评信息
  • 中国药品批文
  • 药品招投标
  • 全球临床试验
  • 中国临床试验
  • 一致性评价
  • 美国FDA批准药品
    -
  • 医药投融资
    -
  • 药物集中采购
    -
  • 境内外生产药品备案信息
    -
注射用磷丙泊酚二钠*点击下方数字查看更多药品相关数据
  • 全球药物研发信息
    -
  • 中国药品审评信息
  • 中国药品批文
  • 药品招投标
  • 全球临床试验
    -
  • 中国临床试验
  • 一致性评价
    -
  • 美国FDA批准药品
    -
人福药业*点击下方数字查看更多企业相关数据
  • 全球药物研发信息
  • 中国药品审评信息
  • 中国药品批文
  • 药品招投标
  • 全球临床试验
  • 中国临床试验
  • 一致性评价
  • 美国FDA批准药品
    -
  • 医药投融资
    -
  • 药物集中采购
    -
  • 境内外生产药品备案信息
    -
<END>
*声明:本文由入驻摩熵医药的相关人员撰写或转载,观点仅代表作者本人,不代表摩熵医药的立场。
AI+生命科学全产业链智能数据平台

收藏

发表评论
评论区(0
  • 暂无评论

    摩熵医药企业版
    50亿+条医药数据随时查
    7天免费试用
    摩熵数科开放平台
    十五五战略规划
    专利数据服务
    添加收藏
      新建收藏夹
      取消
      确认