洞察市场格局
解锁药品研发情报

客服电话

400-9696-311
医药数据查询

第十一批药品集采清单流出,14个品种或剔除,达格列净仿制药引关注

达格列净片 第十一批国家药品集采 万古霉素注射剂
摩熵医药
06/30
1049

近日,一份关于《第十一批国家组织药品集中采购拟采购药品清单》意见的函在业内流出,揭开了新一轮国家药品集采的序幕,但这份网传清单尚非最终定稿。其中,有14个拟采购品种卫健委药政司进行重点研判,存在被剔除的可能性。

研判品种分为两类:

一是仿制药适应症少于原研药的5个品种:包括达格列净片、艾曲泊帕乙醇胺片等。

二是临床使用风险较高的9个品种:如万古霉素注射剂(特殊使用级抗菌药)、甲氨蝶呤注射剂(存在鞘内注射风险)以及辅助生殖用药曲普瑞林注射剂等。

达格列净为例,其仿制药仅有糖尿病适应症,而原研药还拥有心衰和慢性肾脏病适应症,临床使用范围差异显著。

达格列净片,由百时美施贵宝开发,是全球首款获批上市的SGLT-2(钠-葡萄糖协同转运蛋白-2)抑制剂,后全球销售权被阿斯利康收购。该品种于2012年在欧洲首次获批上市,以其独特的降糖机制和卓越的治疗效果赢得了广泛赞誉。

截图来源:摩熵医药全球药物研发数据库

摩熵医药销售数据,2023年达格列净片全球销售额高达63.93亿美元,同比增36%。2024 年同比增长28.19%至81.95亿美元。

截图来源:摩熵医药全球药物研发数据库

2017年进入中国市场后,达格列净片取得极佳的销售表现,2023年销售额攀升至60.42亿元。

图片来源:摩熵咨询《口服降糖药市场专题研究报告》

在国内医院端市场,达格列净片累计销售额超132亿元,23年突破40亿大关,同比增长31.86%。阿斯利康垄断市场,占据98.19%的市场份额。

达格列净片销售数据
【达格列净片】全国医院(全终端)销售额-年度趋势
销售额(亿元)
增长率(%)
【达格列净片】全国医院(全终端)销售额-企业分析TOP10
MAH/生产企业
销售额(亿元)
【达格列净片】全国药店零售额-年度趋势
销售额(亿元)
增长率(%)
可直接点击跳转到数据库免费查看最新数据详细信息

随着医药市场的开放和药品审批制度的改革,国内制药公司纷纷进军仿制药市场,其中达格列净片成为众多企业竞相布局的重点产品。

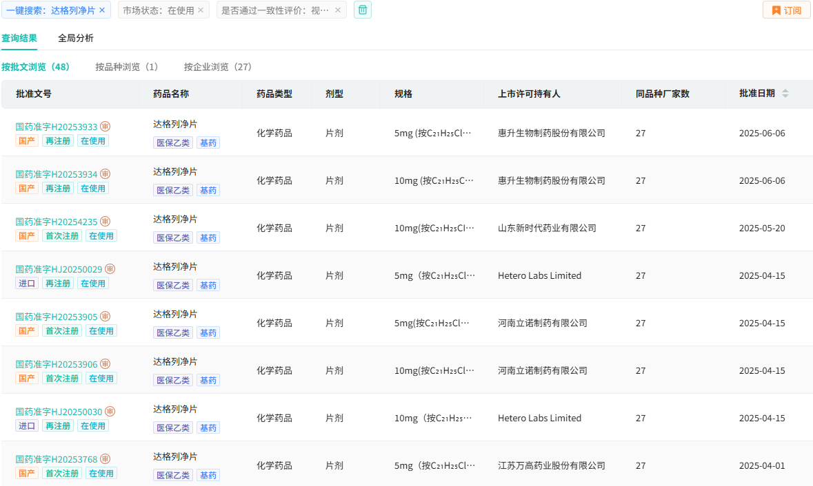
目前已有山东新时代、齐鲁制药、九典制药、石家庄四药、石药集团,福元医药、正大天晴、倍特药业等27家企业的48个批准文号获批,视同过一致性评价,形成了27+1(原研阿斯利康)的竞争格局,已满足国家药品集采条件。

截图来源:摩熵医药中国药品批文数据库

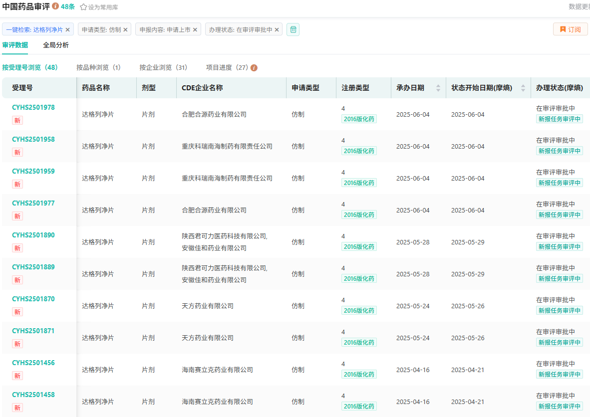
31家企业的4类仿制达格列净片上市申请在审评审批中。此外,还有甘李药业、天方药业、青岛百洋制药、诺禾康药业等多家完成了BE试验或正在进行中,进一步加剧了市场的竞争态势。

截图来源:摩熵医药中国药品审评数据库

2021年初,随着国家药品集中采购政策的推进,恩格列净卡格列净进入集采目录,考虑到其他同类药物的集采情况,达格列净也被认为是集采的目标之一。值得一提的是,达格列净片剂已被纳入2024版医保乙类目录,降低了患者的用药负担。

达格列净片原研与仿制药在适应症上的差距,专利布局也是影响其的一大因素。原研阿斯利康登记的公示专利共六件,涵盖了化合物、组合物及医药用途,即中国《药品专利纠纷早期解决机制实施办法(试行)》规定的可登记的所有类型。

其中化合物专利已于23年5月份到期,其余专利尚在有效期内,是仿制药进入市场的主要障碍。

达格列净片上市后原研厂家仍然在不断拓展其临床试验的治疗领域,从当初上市批准的治疗2型糖尿病,到用于治疗成人射血分数降低型心衰和治疗慢性肾脏病的新适应症。这不仅有利于其市场的开拓,更是通过新适应症的发掘,编织了更加严密的专利保护网,延长了其专利的保护期限。

小结

适应症差异本质是研发深度与政策节奏的差异,若经专家研判,达格列净片顺利通过国家药品新集采(第十一批),该药将进一步降价,也将惠及广大患者,大家一起期待吧。

想要解锁更多药物研发信息吗?查询摩熵医药(原药融云)数据库(vip.pharnexcloud.com/?zmt-mhwz)掌握药物基本信息、市场竞争格局、销售情况与各维度分析、药企研发进展、临床试验情况、申报审批情况、各国上市情况、最新市场动态、市场规模与前景等,以及帮助企业抉择可否投入时提供数据参考!注册立享15天免费试用!

达格列净片*点击下方数字查看更多药品相关数据
  • 全球药物研发信息
    -
  • 中国药品审评信息
  • 中国药品批文
  • 药品招投标
  • 全球临床试验
    -
  • 中国临床试验
  • 一致性评价
  • 美国FDA批准药品
    -
<END>
*声明:本文由入驻摩熵医药的相关人员撰写或转载,观点仅代表作者本人,不代表摩熵医药的立场。
AI+生命科学全产业链智能数据平台

收藏

发表评论
评论区(0
  • 暂无评论

    摩熵医药企业版
    50亿+条医药数据随时查
    7天免费试用
    摩熵数科开放平台
    十五五战略规划
    专利数据服务
    添加收藏
      新建收藏夹
      取消
      确认