洞察市场格局
解锁药品研发情报

客服电话

400-9696-311
医药数据查询

太极集团发力!盐酸托莫西汀胶囊4类仿制申请获受理,神经系统药物布局加速

太极集团 西南药业 盐酸托莫西汀胶囊 仿制药 神经系统药物
摩熵医药
09/28
344

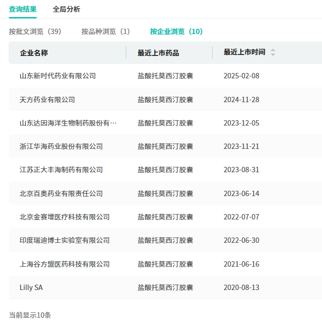
9月26日,据CDE官网显示,太极集团旗下西南药业提交的盐酸托莫西汀胶囊4类仿制上市申请已获受理,该产品原研于2024年1月停止中国市场供应。据摩熵医药数据库显示,目前盐酸托莫西汀在国内主要有胶囊剂和口服溶液,其中,持有胶囊剂生产批文的药企(进口+国产)达10家。

截图来源:CDE

盐酸托莫西汀(择思达)原研为礼来,2002年在美国上市,主要用于治疗儿童和青少年的注意缺陷/多动障碍(ADHD)的非兴奋型药物,也是美国儿童青少年精神病协会(AACAP)推荐的治疗ADHD的一线药物。2007年,盐酸托莫西汀胶囊在中国获批上市,与再普乐百优解欣百达并称为礼来在中国中枢神经产品线中的四大核心药品。摩熵医药数据显示,盐酸托莫西汀胶囊在2021年全终端医院市场的销售额突破3亿元,同比增长率达46.64%,2025年(截至Q2)其销售额已超1亿元。

盐酸托莫西汀胶囊销售数据
【盐酸托莫西汀胶囊】全国药店零售额-年度趋势
销售额(亿元)
增长率(%)
【盐酸托莫西汀胶囊】全国医院(全终端)销售额-年度趋势
销售额(亿元)
增长率(%)
【盐酸托莫西汀胶囊】全国医院(全终端)销售额-企业分析TOP10
MAH/生产企业
销售额(亿元)
可直接点击跳转到数据库免费查看最新数据详细信息

目前,在盐酸托莫西汀胶囊4类新注册仿制申请领域,仅有太极集团一家药企积极布局。

太极集团正持续加大在神经系统药物领域的投入与布局力度。据摩熵医药数据库显示,2024年神经系统药物(化学药与生物药)在全终端医院市场的销售总额突破1100亿元。其中,人福以21.31%的市场份额位居首位,石药集团以16.8%的市场份额紧随其后位列第二,扬子江药业则以近13%的市场份额占据第三的位置。

截图来源:摩熵医药全终端医院销售数据库

2017年,盐酸托莫西汀其使用方法专利(US - 05658590)便已正式到期,2018年,盐酸托莫西汀口服溶液在中国获批上市,此时该药物的核心专利保护期已然结束,国内大批仿制品种相继涌入市场。随后,国内天方药业江苏正大丰海两家企业率先获得盐酸托莫西汀胶囊仿制药的生产批文。

截至目前,国内已有27家药企取得盐酸托莫西汀口服溶液的生产批文,另有9家(不含原研)药企获批生产盐酸托莫西汀胶囊品种。

截图来源:摩熵医药中国药品批文数据库

近几年,太极集团积极推进新药研发,2021 - 2024年研发投入合计由1.46亿元增至2.82亿元,占营收比例从1.20%升至2.28%。高投入迎来收获,2025年1月华盖颗粒在澳门上市。

截图来源:摩熵医药过评药品汇总数据库

仿制药方面,目前有3款产品过评/视同过评(1款进第十批集采),今年以来有4个产品报产在审。新品借政策红利快速增长,为集团业绩添彩。

太极集团过评汇总分布
可直接点击跳转到数据库免费查看最新数据详细信息

参考来源:

[1] CDE官网

[2] 摩熵医药(原药融云)数据库

想要解锁更多药物研发信息吗?查询摩熵医药(原药融云)数据库(vip.pharnexcloud.com/?zmt-mhwz)掌握药物基本信息、市场竞争格局、销售情况与各维度分析、药企研发进展、临床试验情况、申报审批情况、各国上市情况、最新市场动态、市场规模与前景等,以及帮助企业抉择可否投入时提供数据参考!注册立享15天免费试用!

盐酸托莫西汀胶囊*点击下方数字查看更多药品相关数据
  • 全球药物研发信息
    -
  • 中国药品审评信息
  • 中国药品批文
  • 药品招投标
  • 全球临床试验
    -
  • 中国临床试验
  • 一致性评价
  • 美国FDA批准药品
    -
太极集团*点击下方数字查看更多企业相关数据
  • 全球药物研发信息
  • 中国药品审评信息
  • 中国药品批文
  • 药品招投标
  • 全球临床试验
    -
  • 中国临床试验
  • 一致性评价
  • 美国FDA批准药品
    -
  • 医药投融资
    -
  • 药物集中采购
    -
  • 境内外生产药品备案信息
    -
西南药业*点击下方数字查看更多企业相关数据
  • 全球药物研发信息
  • 中国药品审评信息
  • 中国药品批文
  • 药品招投标
  • 全球临床试验
    -
  • 中国临床试验
  • 一致性评价
  • 美国FDA批准药品
    -
  • 医药投融资
    -
  • 药物集中采购
    -
  • 境内外生产药品备案信息
    -
<END>
*声明:本文由入驻摩熵医药的相关人员撰写或转载,观点仅代表作者本人,不代表摩熵医药的立场。
AI+生命科学全产业链智能数据平台

收藏

发表评论
评论区(0
  • 暂无评论

    摩熵医药企业版
    50亿+条医药数据随时查
    7天免费试用
    摩熵数科开放平台
    十五五战略规划
    专利数据服务

    中国药品审评

    美国FDA批准药品

    添加收藏
      新建收藏夹
      取消
      确认