洞察市场格局
解锁药品研发情报

客服电话

400-9696-311
医药数据查询

石药集团创新药大爆发!ALMB-0166获批帕金森Ⅱ期试验,多款新药迎进展

石药集团 ALMB-0166 临床试验 帕金森症 创新药 药品审评审批
摩熵医药
09/18
216

9月15日,石药集团发布公告,其自主研发的ALMB - 0166获国家药监局批准,将在中国开展Ⅱ期临床试验,以评估其对帕金森氏症疗效。近期,石药集团新药研发捷报频传,其中SYH2066(化药1类)在中国获批临床,SYS6036注射液度普利尤单抗注射液相继获批临床试验。此外,KN026(安尼妥单抗注射液)新药和司美格鲁肽注射液上市申请也已获受理。

截图来源:石药集团企业公告

ALMB - 0166是一款同类首创(First-in-class)的创新药物,它精准靶向全新作用点——半通道膜蛋白Connexin 43(Cx43),属于人源化单克隆抗体抑制剂,由石药集团旗下附属公司AlaMab Therapeutics Inc.自主研发而成,专门用于治疗帕金森氏症、急性缺血性脑卒中、急性脊髓损伤等神经系统疑难病症。

帕金森氏症作为全球范围内第二大高发的神经退行性疾病,其核心病理特征为黑质多巴胺神经元逐步退变以及路易小体的异常形成。据摩熵医药数据库统计,2024年全终端医院神经系统药物销售额超1000亿元,而2025年(截至Q2)销售额已超500亿元,市场潜力巨大。此次,石药集团ALMB - 0166成功获国家药监局批准开展Ⅱ期临床试验,为千亿市场注入强劲动力。

截图来源:摩熵医药全终端医院销售数据库

作为传统医药巨头,石药集团在坚持传统的仿制药和改良药研发的同时,也在加速转向创新药研发,并进入收获期。近期,先是SYH2066(化药1类)、SYS6036注射液度普利尤单抗注射液相继获批临床,接着,KN026(安尼妥单抗注射液)新药和司美格鲁肽注射液上市申请获受理,而且KN026近期还将提交二线胃癌适应症上市申请。

在ADC药物领域,石药集团成绩斐然。目前已有11款ADC药物进入临床阶段,其中EGFR ADC药物SYS6010已启动EGFR突变非小细胞肺癌二线治疗的Ⅲ期临床试验,预计2026年提交上市申请,有望为肿瘤患者带来新的治疗选择。

截图来源:摩熵医药中国临床试验数据库

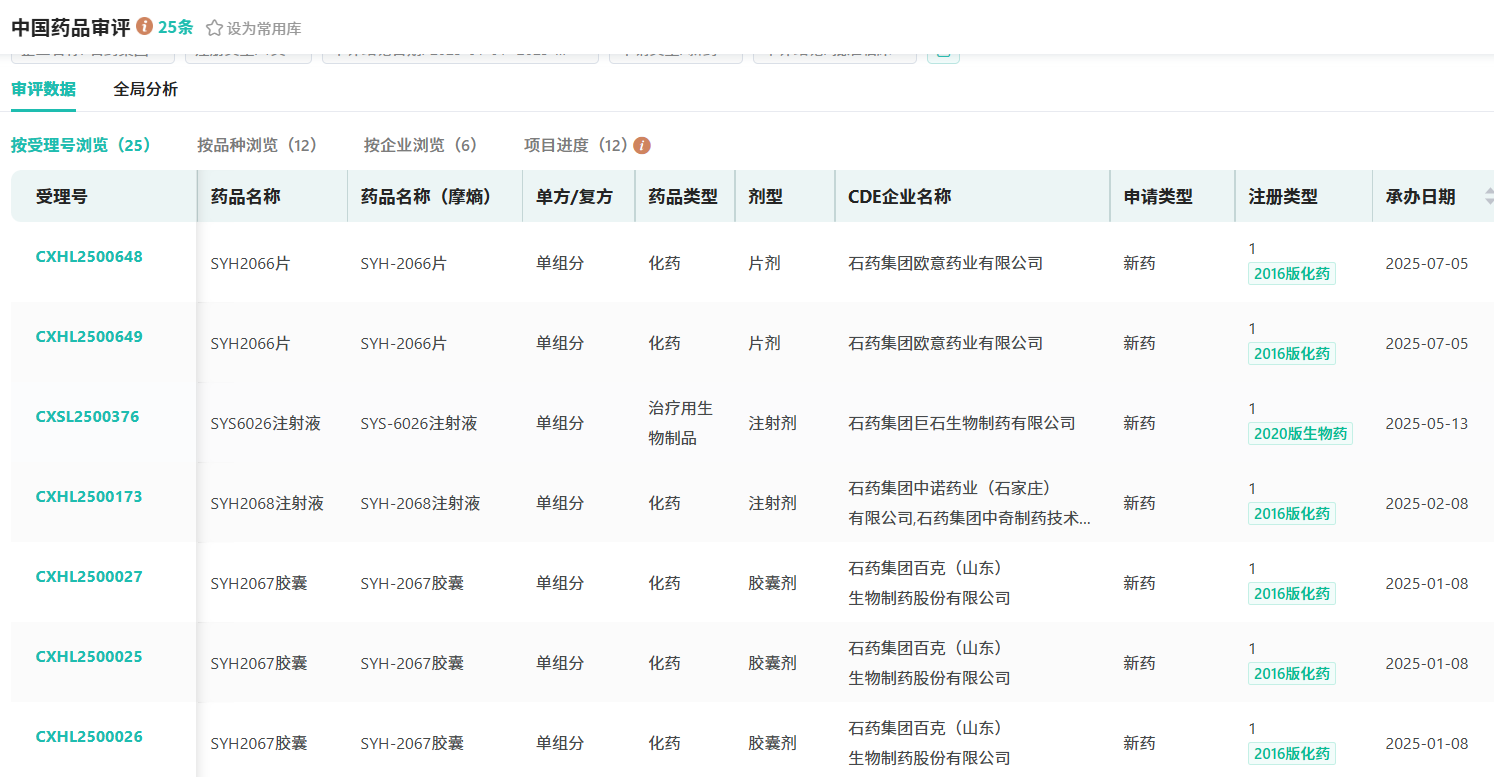
石药集团(含子公司)在创新研发领域成果丰硕。2025年至今,摩熵医药数据库统计显示,共有SYHA-1813口服溶液SYH-2067胶囊SYH-2051片SYH-2066片等12款1类新药获批临床,涉及系统用抗感染药物、心血管系统药物、消化系统与代谢药物、抗肿瘤药物和免疫机能调节药物四大治疗领域。

石药集团全球新药研发阶段分布
可直接点击跳转到数据库免费查看最新数据详细信息

小结

石药集团在医药创新领域正以强劲的势头高歌猛进,展现出传统医药巨头向创新转型的强大实力与坚定决心。此次ALMB - 0166获批开展帕金森氏症Ⅱ期临床试验,作为同类首创药物,精准靶向疑难病症,为千亿级神经系统药物市场注入新活力,有望改写治疗格局。

想要解锁更多药物研发信息吗?查询摩熵医药(原药融云)数据库(vip.pharnexcloud.com/?zmt-mhwz)掌握药物基本信息、市场竞争格局、销售情况与各维度分析、药企研发进展、临床试验情况、申报审批情况、各国上市情况、最新市场动态、市场规模与前景等,以及帮助企业抉择可否投入时提供数据参考!注册立享15天免费试用!

石药集团*点击下方数字查看更多企业相关数据
  • 全球药物研发信息
  • 中国药品审评信息
  • 中国药品批文
  • 药品招投标
  • 全球临床试验
  • 中国临床试验
  • 一致性评价
  • 美国FDA批准药品
    -
  • 医药投融资
    -
  • 药物集中采购
    -
  • 境内外生产药品备案信息
    -
ALMB-0166*点击下方数字查看更多药品相关数据
  • 全球药物研发信息
  • 中国药品审评信息
  • 中国药品批文
    -
  • 药品招投标
    -
  • 全球临床试验
  • 中国临床试验
  • 一致性评价
    -
  • 美国FDA批准药品
    -
<END>
*声明:本文由入驻摩熵医药的相关人员撰写或转载,观点仅代表作者本人,不代表摩熵医药的立场。
AI+生命科学全产业链智能数据平台

收藏

发表评论
评论区(0
  • 暂无评论

    摩熵医药企业版
    50亿+条医药数据随时查
    7天免费试用
    摩熵数科开放平台
    十五五战略规划
    专利数据服务

    中国药品审评

    美国FDA批准药品

    添加收藏
      新建收藏夹
      取消
      确认