洞察市场格局
解锁药品研发情报

客服电话

400-9696-311
医药数据查询

仁合益康羧基麦芽糖铁注射液上市申请遭拒,汇宇制药接替冲刺首仿,国内高端补铁剂竞争激烈!

仁合益康 羧基麦芽糖铁注射液 维福制药 补铁剂
摩熵医药
09/12
973

9月8日,NMPA发布的药品通知件送达信息中,多个产品未被批准,仁合益康集团羧基麦芽糖铁注射液赫然在列。该产品在国内仅原研上市,仁合益康成为继先声药业之后,第二家冲击上市失败的企业。首仿花落谁家,尚未可知。

截图来源:NMPA官网

羧基麦芽糖铁(ferric carboxymaltose) 作为第3代静脉铁剂,是一种有效的、耐受性良好的蔗糖铁替代品,用于口服铁制剂无效、不能使用口服铁制剂或临床快速补充铁时≥1周岁儿童及成人患者的缺铁性治疗。

截图来源:摩熵医药全球药物研发数据库

羧基麦芽糖铁注射液维福制药(Vifor Pharm)原研,2007年6月率先在德国上市,2013年7月于美国获批,目前已在包括英国、瑞士等在内的80多个国家或地区上市。

2022年11月,由杭州泰格医疗科技引进的羧基麦芽糖铁原研药在中国上市,商品名为“菲新捷”。上市规格为500mg/10ml 和100mg/2ml,以适配不同临床用药需求。

截图来源:摩熵医药中国药品批文数据库

其关键性的上市申请依据,是国内开展的一项纳入近400人的Ⅲ期临床试验数据。试验结果显示,羧基麦芽糖铁注射液具有良好的安全性和耐受性,能有效改善中国患者的血红蛋白反应并纠正缺铁。

截图来源:摩熵医药中国临床试验数据库

我国铁缺乏症患者群体基数庞大,患病率约为15%,临床用药需求旺盛。全球静脉补铁剂市场中,羧基麦芽糖铁的占比达48%。反观国内,铁制剂市场规模接近50亿元,仍以二代静脉铁剂蔗糖铁为主导,市场迭代空间显著。

铁制剂销售数据
【铁制剂】全国医院(全终端)销售额-年度趋势
销售额(亿元)
增长率(%)
【铁制剂】全国医院(全终端)销售额-药品分析TOP10
MAH/生产企业
销售额(亿元)
【铁制剂】全国药店零售额-年度趋势
销售额(亿元)
增长率(%)
可直接点击跳转到数据库免费查看最新数据详细信息

在我国各省份院内市场,羧基麦芽糖铁注射液累计销售额已达7216.53万元,2024年销售额为4865万元,2025年第一季度同比增长高达1145.93%。基于国内巨大的患者需求与市场迭代空间,羧基麦芽糖铁未来具备广阔的发展前景。

截图来源:摩熵医药全终端医院销售(含省份)数据库

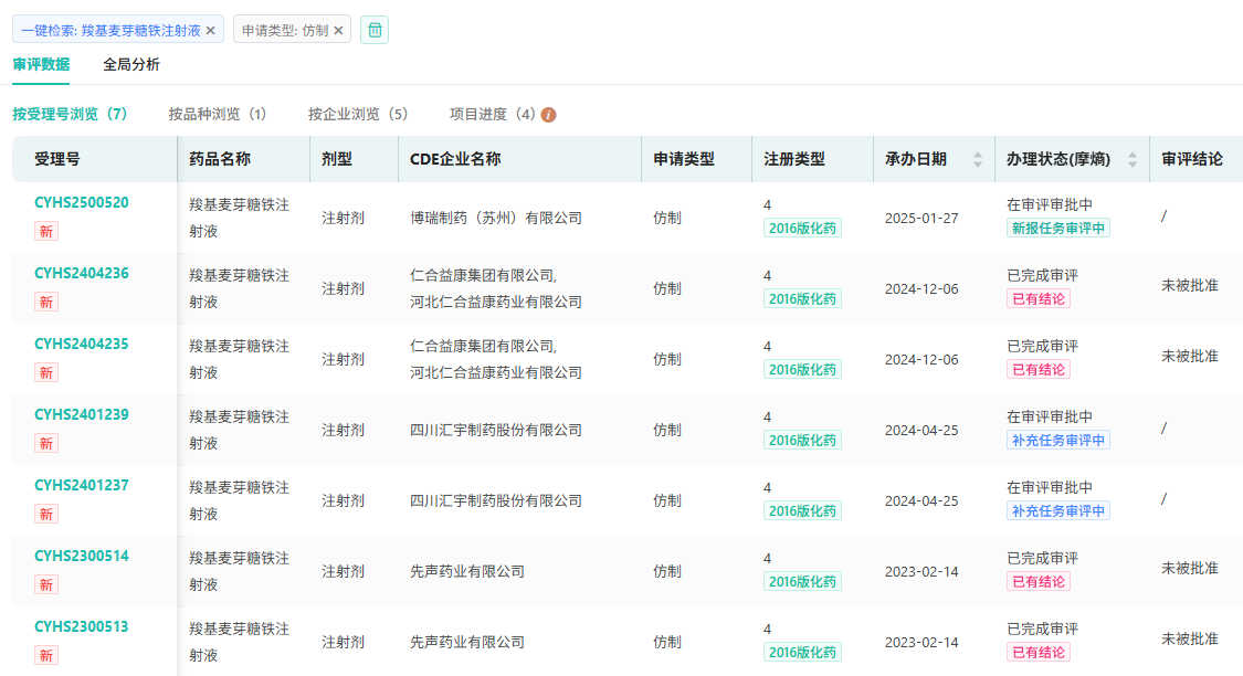
目前,国内已有6家企业布局羧基麦芽糖铁注射液仿制药,其中4家为国内企业,瑞迪博士、泛谷药业则以进口仿制的形式参与申报。

截图来源:摩熵医药中国药品审评数据库

先声药业冲击该品种首仿失败后,仁合康益成为第二家被拒批的企业,且两家企业均在首轮审评结束后收到不批准通知。现阶段,仅有四川汇宇制药进入补充资料审评环节,有望成为首仿的最终胜利者。

截图来源:摩熵医药中国药品审评数据库

羧基麦芽糖铁注射液作为按4类化药申报的注射液品种,且无专利限制,通常会豁免生物等效性(BE)试验,但当前所有申报的仿制药企业均开展了BE试验。

截图来源:摩熵医药中国临床试验数据库

结合仁合康益于2025年9月4日重新进行BE登记的情况来看,可能是其此前在BE研究中存在不符合FDA发布的关于羧基麦芽糖铁的BE指南(Draft Guidance on Ferric Carboxymaltose)要求的情况,影响了审批结果。

作为补铁剂市场的重要品种,羧基麦芽糖铁注射液的仿制药赛道备受关注。两次被拒,既凸显了该品种的临床价值与市场吸引力,也折射出仿制药审批趋严背景下“质量合规”的核心门槛。最终首仿花落谁家,我们拭目以待。

想要解锁更多药企信息吗?查询摩熵医药(原药融云)数据库(vip.pharnexcloud.com/?zmt-mhwz)掌握药企公司基本信息、投融资情况、产品管线分布、药物销售情况与各维度分析、药物研发情况、年度报告、最新进展动态、临床试验信息、市场规模与前景等,以及帮助企业抉择可否投入时提供数据参考!注册立享15天免费试用!

仁合益康*点击下方数字查看更多企业相关数据
  • 全球药物研发信息
  • 中国药品审评信息
  • 中国药品批文
  • 药品招投标
  • 全球临床试验
    -
  • 中国临床试验
  • 一致性评价
  • 美国FDA批准药品
    -
  • 医药投融资
    -
  • 药物集中采购
    -
  • 境内外生产药品备案信息
    -
羧基麦芽糖铁注射液*点击下方数字查看更多药品相关数据
  • 全球药物研发信息
    -
  • 中国药品审评信息
  • 中国药品批文
  • 药品招投标
  • 全球临床试验
    -
  • 中国临床试验
  • 一致性评价
    -
  • 美国FDA批准药品
    -
<END>
*声明:本文由入驻摩熵医药的相关人员撰写或转载,观点仅代表作者本人,不代表摩熵医药的立场。
AI+生命科学全产业链智能数据平台

收藏

发表评论
评论区(0
  • 暂无评论

    摩熵医药企业版
    50亿+条医药数据随时查
    7天免费试用
    摩熵数科开放平台
    十五五战略规划
    专利数据服务

    中国药品审评

    美国FDA批准药品

    添加收藏
      新建收藏夹
      取消
      确认