洞察市场格局
解锁药品研发情报

客服电话

400-9696-311
医药数据查询

正大天晴依伏卡塞片首仿申请获受理,冲击百亿SHPT市场

正大天晴 依伏卡塞片 慢性肾病并发症SHPT 新型拟钙剂
摩熵医药
07/10
525

7月8日,CDE官网显示,南京正大天晴制药有限公司提交的4类仿制化药依伏卡塞片上市申请已获受理,若顺利获批,有望拿下该品种的首仿资格。

截图来源:CDE官网

依伏卡塞(Evocalcet)是一种新型口服拟钙剂,主要用于治疗继发性甲状旁腺功能亢进症(SHPT)。该药物通过作用于甲状旁腺细胞上的钙敏感受体(CaSR),抑制甲状旁腺细胞增殖及甲状旁腺激素(PTH)分泌,从而降低血钙、血磷和甲状旁腺素水平。

截图来源:摩熵医药全球药物研发数据库

依伏卡塞原研厂家为协和麒麟株式会社,最早于2018年获得日本PMDA批准,2024年6月被NMPA批准进口,并于2025年3月由中日友好医院开出中国市场首张处方。

继发性甲状旁腺功能亢进症(SHPT)是矿物质代谢紊乱的重要表现类型之一,也是慢性肾脏病(CKD)患者常见且严重的并发症之一。主要表现为PTH水平升高、甲状旁腺肥大增生、钙磷代谢紊乱等。在我国,约60%的维持性透析患者存在不同程度的SHPT,但PTH控制达标率仅约55%。

摩熵医药数据库显示,我国抗甲状旁腺药院内市场累计超118亿元,2021年突破21亿元,达到峰值,近年虽呈下降趋势,但市场份额依然可观。

抗甲状旁腺药销售数据
【抗甲状旁腺药】全国医院(全终端)销售额-年度趋势
销售额(亿元)
增长率(%)
【抗甲状旁腺药】全国医院(全终端)销售额-药品分析TOP10
MAH/生产企业
销售额(亿元)
【抗甲状旁腺药】全国药店零售额-年度趋势
销售额(亿元)
增长率(%)
可直接点击跳转到数据库免费查看最新数据详细信息

作为一款二代西那卡塞(一种已获批上市的拟钙剂),依伏卡塞通过创新优化分子结构和独特制剂工艺,可有效降低甲状旁腺激素、血钙及FGF23,并通过抑制骨溶出来降低血磷;同时,它在药理作用及生物利用度上有了明显的改善,并显著减少了药物相互作用及胃肠道不良反应,为中国SHPT患者提供了新的治疗选择。

西那卡塞作为第一代拟钙剂,在全国医院市场表现亮眼,当前销售总额已突破18亿元,2021年为5.58亿元,同比增长34.86%,稳居抗甲状旁腺药市场前四。有此标杆在前,同为拟钙剂的依伏卡塞片,其未来市场潜力同样值得期待。

西那卡塞销售数据
【西那卡塞】全国医院(全终端)销售额-年度趋势
销售额(亿元)
增长率(%)
【西那卡塞】全国医院(全终端)销售额-企业分析TOP10
MAH/生产企业
销售额(亿元)
【西那卡塞】全国药店零售额-年度趋势
销售额(亿元)
增长率(%)
可直接点击跳转到数据库免费查看最新数据详细信息

目前国内有1mg和2mg两种规格的依伏卡塞片上市,由原研企业协和麒麟独家供应,仿制壁垒较高。

截图来源:摩熵医药中国药品批文数据库

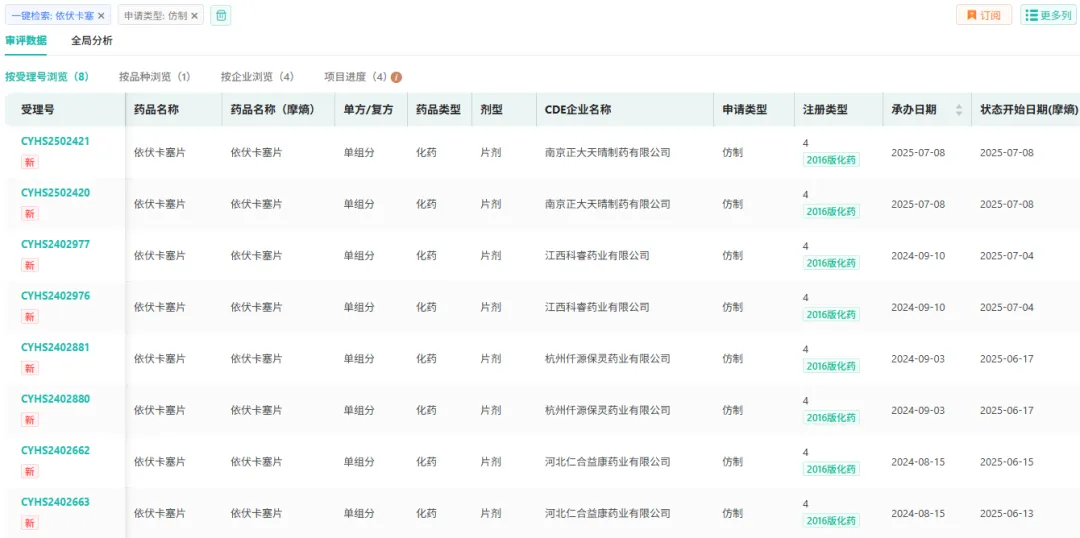
依伏卡塞片国内仿制竞争格局来看,除了此次新申请的正大天晴仁合益康药业、杭州仟源保灵药业江西科睿药业三家药企也在2024年进行了申报,均处于审评审批中。

截图来源:摩熵医药中国药品审评数库

此外,还有江西青峰药业、河北创健药业、江苏嘉逸医药、吉林省博大制药、江苏普润生物医药5家企业进行了依伏卡塞的原料药的备案登记。随着多家药企的陆续入局,该品种的仿制竞争格局已初步显现。

截图来源:摩熵医药原料药数据库

小结

从研发进度来看,首仿企业有望在2025-2026年间推动依伏卡塞片正式登陆市场。随着仿制药的陆续入市,该品种的市场格局将逐步演变为原研药与仿制药共生的态势。这种多元竞争格局,不仅能通过市场机制激发产品创新活力,更将切实减轻患者的治疗负担,让更多患者以更可及的成本获得有效的治疗方案,其在临床治疗与市场应用中的双重价值值得期待。

想要解锁更多药物研发信息吗?查询摩熵医药(原药融云)数据库(vip.pharnexcloud.com/?zmt-mhwz)掌握药物基本信息、市场竞争格局、销售情况与各维度分析、药企研发进展、临床试验情况、申报审批情况、各国上市情况、最新市场动态、市场规模与前景等,以及帮助企业抉择可否投入时提供数据参考!注册立享15天免费试用!

正大天晴*点击下方数字查看更多企业相关数据
  • 全球药物研发信息
  • 中国药品审评信息
  • 中国药品批文
  • 药品招投标
  • 全球临床试验
  • 中国临床试验
  • 一致性评价
  • 美国FDA批准药品
  • 医药投融资
    -
  • 药物集中采购
    -
  • 境内外生产药品备案信息
    -
依伏卡塞片*点击下方数字查看更多药品相关数据
  • 全球药物研发信息
    -
  • 中国药品审评信息
  • 中国药品批文
  • 药品招投标
  • 全球临床试验
    -
  • 中国临床试验
  • 一致性评价
    -
  • 美国FDA批准药品
    -
<END>
*声明:本文由入驻摩熵医药的相关人员撰写或转载,观点仅代表作者本人,不代表摩熵医药的立场。
AI+生命科学全产业链智能数据平台

收藏

发表评论
评论区(0
  • 暂无评论

    摩熵医药企业版
    50亿+条医药数据随时查
    7天免费试用
    摩熵数科开放平台
    十五五战略规划
    专利数据服务
    添加收藏
      新建收藏夹
      取消
      确认