洞察市场格局
解锁药品研发情报

客服电话

400-9696-311
医药数据查询

新华制药吡仑帕奈口服混悬液仿制药上市申请获受理,角逐国内第二家

山东新华制药 吡仑帕奈口服混悬液 卫材制药 癫痫用药 抗癫痫药
摩熵医药
06/30
396

6月27日,CDE官网显示,山东新华制药股份有限公司递交了4类仿制化药吡仑帕奈口服混悬液的上市申请,并获受理。

截图来源:CDE官网

卫材研发的Frist-in-Class抗癫痫药物吡仑帕奈perampanel,商品名:卫克泰)是一款选择性、非竞争性的AMPA(α-氨基-3-羟基-5-甲基-4-异恶唑丙酸)受体拮抗剂,通过与突触后膜上的AMPA受体非竞争性结合,抑制谷氨酸诱导的过度神经传递,从而发挥抗癫痫作用。

截图来源:摩熵医药全球药物研发数据库

2012年7月,吡仑帕奈率先在欧洲被批准用于12岁及以上癫痫患者部分性发作的添加治疗,同年10月该适应症在美国获批。2019年9月,吡仑帕奈在中国首次获批上市,2021年7月,该药再次获批用于成人和4岁及以上儿童癫痫部分性发作患者(伴有或不伴有继发全面性发作)的治疗。

摩熵医药销售数据,自上市以来,吡仑帕奈的全球销售额实现逐年增长,2022年销售额达2.77亿美元,2023年同比增长51.62%,至4.21亿美元。

截图来源:摩熵医药全球药物研发数据库

在全国医院(全终端)市场上,吡仑帕奈累计销售额为4.78亿元,2023年同比增长95%,达到2.1亿元。

吡仑帕奈销售数据
【吡仑帕奈】全国医院(全终端)销售额-年度趋势
销售额(亿元)
增长率(%)
【吡仑帕奈】全国医院(全终端)销售额-企业分析TOP10
MAH/生产企业
销售额(亿元)
【吡仑帕奈】全国药店零售额-年度趋势
销售额(亿元)
增长率(%)
可直接点击跳转到数据库免费查看最新数据详细信息

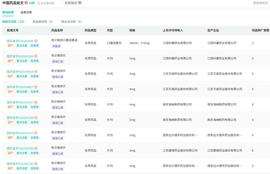
当前吡仑帕奈已在全球70多个国家和地区获批上市,包含口服混悬剂,片剂、细颗粒剂三种剂型。国内有吡仑帕奈片吡仑帕奈口服混悬液两种剂型,共5家企业12个批文获批,视同通过一致性评价。

截图来源:摩熵医药中国药品批文数据库

其中吡仑帕奈口服混悬液的国内首仿+首家过评归属青峰医药(江西科睿药业)山东新华制药将参与国产第二家争夺。

截图来源:摩熵医药一致性评价数据库

山东新华制药外,湖南科伦制药、南京海纳制药、山东朗诺制药等4家企业也提交了吡仑帕奈口服混悬液的仿制上市申请。

截图来源:摩熵医药中国药品审评数据库

癫痫作为常见的、最严重的神经系统疾病之一,是由多种原因导致的脑部神经元高度同步化异常放电所致的临床综合征。流行病学显示,我国癫痫患病率高达7‰。癫痫治愈难、致残率高、治疗周期长,许多癫痫患者需终身服药。

摩熵医药数据显示,我国医院端抗癫痫药市场达460亿元,22年与23年突破60亿元。

抗癫痫药销售数据
【抗癫痫药】全国医院(全终端)销售额-药品分析TOP10
MAH/生产企业
销售额(亿元)
【抗癫痫药】全国医院(全终端)销售额-年度趋势
销售额(亿元)
增长率(%)
【抗癫痫药】全国药店零售额-年度趋势
销售额(亿元)
增长率(%)
可直接点击跳转到数据库免费查看最新数据详细信息

吡仑帕奈口服混悬液通过剂型创新和药理特性的结合,不仅解决了特定人群的用药难题,还在疗效和用药便利性上实现了平衡。其临床优势尤其体现在儿童、吞咽障碍患者及难治性癫痫的治疗中,同时通过政策支持提升了长期用药的可及性。吡仑帕奈口服混悬液被列入《第二批鼓励仿制药品目录建议清单》,体现了临床对该药品的迫切需求。

小结

此次新华制药入局吡仑帕奈口服混悬液仿制赛道,市场的竞争格局将进一步升级。若成功获批,将成为该剂型的国内第二家供应企业,这不仅是新华制药在神经药物领域的又一次突破,也将通过价格竞争与产能补充,提升药物可及性,让更多癫痫患者受益。

想要解锁更多药物研发信息吗?查询摩熵医药(原药融云)数据库(vip.pharnexcloud.com/?zmt-mhwz)掌握药物基本信息、市场竞争格局、销售情况与各维度分析、药企研发进展、临床试验情况、申报审批情况、各国上市情况、最新市场动态、市场规模与前景等,以及帮助企业抉择可否投入时提供数据参考!注册立享15天免费试用!

新华制药*点击下方数字查看更多企业相关数据
  • 全球药物研发信息
    -
  • 中国药品审评信息
  • 中国药品批文
  • 药品招投标
  • 全球临床试验
    -
  • 中国临床试验
  • 一致性评价
  • 美国FDA批准药品
  • 医药投融资
    -
  • 药物集中采购
    -
  • 境内外生产药品备案信息
    -
吡仑帕奈口服混悬液*点击下方数字查看更多药品相关数据
  • 全球药物研发信息
    -
  • 中国药品审评信息
  • 中国药品批文
  • 药品招投标
  • 全球临床试验
    -
  • 中国临床试验
  • 一致性评价
  • 美国FDA批准药品
    -
<END>
*声明:本文由入驻摩熵医药的相关人员撰写或转载,观点仅代表作者本人,不代表摩熵医药的立场。
AI+生命科学全产业链智能数据平台

收藏

发表评论
评论区(0
  • 暂无评论

    摩熵医药企业版
    50亿+条医药数据随时查
    7天免费试用
    摩熵数科开放平台
    十五五战略规划
    专利数据服务
    添加收藏
      新建收藏夹
      取消
      确认