洞察市场格局
解锁药品研发情报

客服电话

400-9696-311
医药数据查询

安徽长江药业等2企业药品因未调价被暂停采购,涉两款短缺药

安徽长江药业 盐酸多巴酚丁胺注射液 辉南长龙生化药业 盐酸精氨酸注射液 药品暂停采购
摩熵医药
06/27
853

6月25日,上海阳光医药采购网发布《关于暂停部分药品采购资格的通知》,根据国家医疗保障局相关文件,因部分企业未按要求调整药品价格,即日起暂停部分药品的采购资格。

截图来源:上海阳光医药采购网

被暂停的两款药物分别是安徽长江药业盐酸多巴酚丁胺注射液吉林省辉南长龙生化药业盐酸精氨酸注射液。

多巴酚丁胺最早由美国礼来公司(Eli Lilly and Company)开发,1978年7月在美国上市(商品名:DOBUTREX®)。原研公司多巴酚丁胺未在国内上市。

截图来源:摩熵医药药品研发数据库

盐酸多巴酚丁胺注射液是一种常用强心药,能够增强心脏的收缩能力,是国家基本药物之一。作为急诊、ICU、心内、心外、儿科等科室急救大品种,盐酸多巴酚丁胺注射液目前已被纳入2018版国家基药目录及2022版国家医保甲类药目录。

摩熵医药销售数据显示,盐酸多巴酚丁胺注射液2022年在国内医院端销售规模超过5亿元,2023年为5.9亿,同比增长10.71%。

盐酸多巴酚丁胺注射液销售数据
【盐酸多巴酚丁胺注射液】全国医院(全终端)销售额-年度趋势
销售额(亿元)
增长率(%)
【盐酸多巴酚丁胺注射液】全国医院(全终端)销售额-企业分析TOP10
MAH/生产企业
销售额(亿元)
【盐酸多巴酚丁胺注射液】全国药店零售额-年度趋势
销售额(亿元)
增长率(%)
可直接点击跳转到数据库免费查看最新数据详细信息

2025年第十批国家药品集采中,盐酸多巴酚丁胺注射液(5ml:100mg*1支)由浙江沣华医药(浙江赛默制药受托生产)、南京泽恒医药(江苏神龙药业受托生产)、成都瑞尔医药(太极集团四川太极制药受托生产)等8家药企中标,中标价格分别是2.04元、2.61元、2.89元、3.11元、3.19元、3.49元、3.49元、3.58元。

截图来源:摩熵医药药品集中采购数据库

盐酸精氨酸注射液属于氨基酸类的药物,主要是用于治疗肝性脑病。尤其适用于忌钠的患者,也可用于其他原因引起的血氨增高所致的精神症状治疗。它通过参与鸟氨酸循环,促进尿素形成,降低血氨浓度。

根据摩熵医药销售数据,盐酸精氨酸注射液累计销售额达7.99亿元,近年涨幅喜人,21年暴涨130.46%,22年再增152.78%。

盐酸精氨酸注射液销售数据
【盐酸精氨酸注射液】全国医院(全终端)销售额-年度趋势
销售额(亿元)
增长率(%)
【盐酸精氨酸注射液】全国医院(全终端)销售额-企业分析TOP10
MAH/生产企业
销售额(亿元)
【盐酸精氨酸注射液】全国药店零售额-年度趋势
销售额(亿元)
增长率(%)
可直接点击跳转到数据库免费查看最新数据详细信息

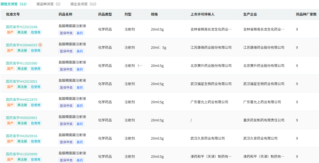
国内有多家生产企业,包括康缘药业、赛升药业、武汉久安药业、武汉福星生物等。

截图来源:摩熵医药中国药品批文数据库

这两款药物都属于短缺药,同日,在另一则关于2025年4月部分短缺药全国平均价的公告中,上海药采所公布了盐酸多巴酚丁胺注射液(2ml:20mg)全国平均价为3.53元,盐酸精氨酸注射液(20ml:5g)全国平均价为11.68元。

截图来源:上海阳光医药采购网

公告提到,各医疗机构应根据市场供需情况,在保供稳价的基础上,采购质量可靠、价格适宜的药品。

早在24年年初,国家医保局便发布了《关于促进同通用名同厂牌药品省际间价格公平诚信、透明均衡的通知》,明确到2024年3月底前,基本消除通用名、厂牌、剂型、规格均相同的药品在省际间的不公平高价、歧视性高价,推动医药企业价格行为更加公平诚信。

此次暂停盐酸多巴酚丁胺注射液、盐酸精氨酸注射液采购资格,不仅是医保控费政策落地的缩影,更是医药市场价格秩序重塑的重要信号。

小结

随着国家医保局持续强化价格管理,医药行业正加速迈向规范化、透明化发展新阶段,唯有紧跟政策导向、平衡质量与价格的企业,方能在这场变革中实现长远发展,而患者也将受益于更合理、更可持续的医药服务体系。

想要解锁更多药物研发信息吗?查询摩熵医药(原药融云)数据库(vip.pharnexcloud.com/?zmt-mhwz)掌握药物基本信息、市场竞争格局、销售情况与各维度分析、药企研发进展、临床试验情况、申报审批情况、各国上市情况、最新市场动态、市场规模与前景等,以及帮助企业抉择可否投入时提供数据参考!注册立享15天免费试用!

安徽长江药业*点击下方数字查看更多企业相关数据
  • 全球药物研发信息
    -
  • 中国药品审评信息
  • 中国药品批文
  • 药品招投标
  • 全球临床试验
    -
  • 中国临床试验
  • 一致性评价
  • 美国FDA批准药品
    -
  • 医药投融资
    -
  • 药物集中采购
    -
  • 境内外生产药品备案信息
    -
辉南长龙生化药业*点击下方数字查看更多企业相关数据
  • 全球药物研发信息
    -
  • 中国药品审评信息
  • 中国药品批文
  • 药品招投标
  • 全球临床试验
    -
  • 中国临床试验
  • 一致性评价
  • 美国FDA批准药品
    -
  • 医药投融资
    -
  • 药物集中采购
    -
  • 境内外生产药品备案信息
    -
盐酸多巴酚丁胺注射液*点击下方数字查看更多药品相关数据
  • 全球药物研发信息
    -
  • 中国药品审评信息
  • 中国药品批文
  • 药品招投标
  • 全球临床试验
    -
  • 中国临床试验
    -
  • 一致性评价
  • 美国FDA批准药品
    -
盐酸精氨酸注射液*点击下方数字查看更多药品相关数据
  • 全球药物研发信息
    -
  • 中国药品审评信息
  • 中国药品批文
  • 药品招投标
  • 全球临床试验
    -
  • 中国临床试验
  • 一致性评价
    -
  • 美国FDA批准药品
    -
<END>
*声明:本文由入驻摩熵医药的相关人员撰写或转载,观点仅代表作者本人,不代表摩熵医药的立场。
AI+生命科学全产业链智能数据平台

收藏

发表评论
评论区(0
  • 暂无评论

    摩熵医药企业版
    50亿+条医药数据随时查
    7天免费试用
    摩熵数科开放平台
    十五五战略规划
    专利数据服务
    添加收藏
      新建收藏夹
      取消
      确认